| code | Prod. code | Description | Compat. | Modif. | Qty | Notes | Components | Colour | Reman. |
|---|---|---|---|---|---|---|---|---|---|
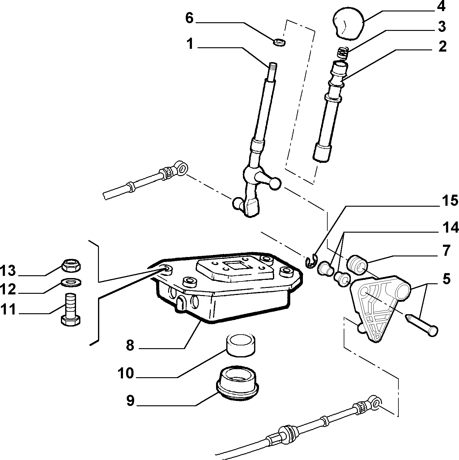
| 1 | 71719146 | DRĄŻEK |
|
01 | |||||
| 2 | 71736246 | DRĄŻEK |
|
01 | |||||
| 3 | 71715451 | SPRĘŻYNA |
|
01 | |||||
| 4 | 100150604 | RĘKOJEŚĆ | M8,M24 |
|
01 | ||||
| 4 | 100154946 | RĘKOJEŚĆ | M35 |
|
01 | ||||
| 5 | 71719460 | DŹWIGNIA |
|
01 | |||||
| 6 | 71715452 | PIERŚCIEŃ USZCZELNIAJĄCY |
|
01 | |||||
| 7 | 71715456 | TULEJKA |
|
01 | |||||
| 8 | 71719461 | WSPORNIK/PODPORA |
|
01 | |||||
| 9 | 71718477 | WSPORNIK/PODPORA |
|
01 | |||||
| 10 | 46740765 | USZCZELKA |
|
01 | |||||
| 11 | 10902624 | ŚRUBA M6X25 |
|
04 | |||||
| 12 | 10519424 | PODKŁADKA |
|
04 | |||||
| 13 | 12574225 | NAKRĘTKA |
|
04 | |||||
| 14 | 46740769 | TULEJKA |
|
01 | |||||
| 15 | 11087876 | PIERŚCIEŃ ZABEZPIECZAJĄCY |
|
01 |