| code | Prod. code | Description | Compat. | Modif. | Qty | Notes | Components | Colour | Reman. |
|---|---|---|---|---|---|---|---|---|---|
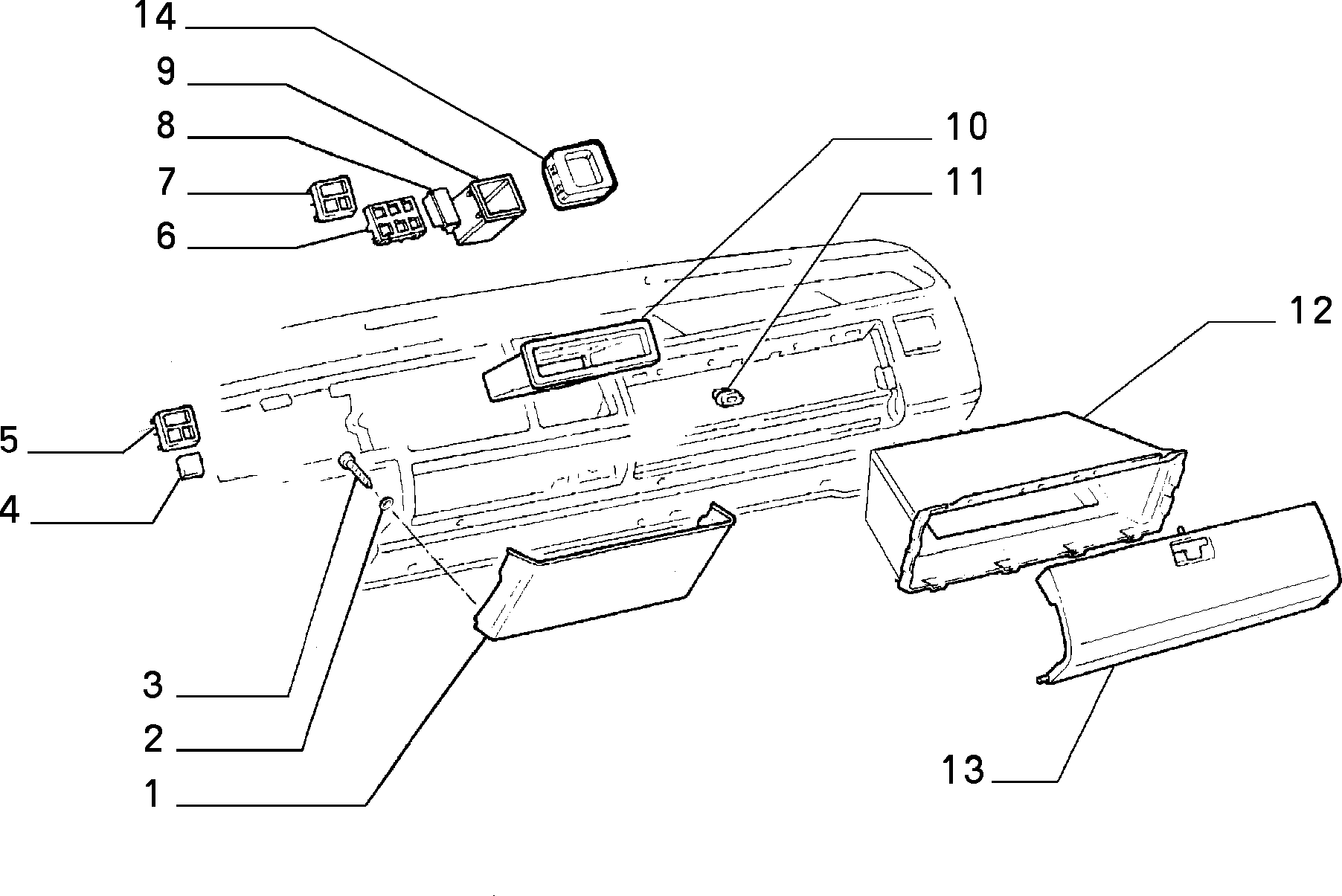
| 1 | 180364560 | ДЕРЖАВКА |
|
01 | |||||
| 2 | 10519301 | ПЛОСКАЯ ШАЙБА |
|
04 | |||||
| 3 | 15644107 | ВИНТ |
|
04 | |||||
| 4 | 180365280 | ПРОБКА | GS+(GD+V1) |
|
01 | ||||
| 4 | 180463780 | ПРОБКА | GD |
|
02 | ||||
| 5 | 180464480 | ЕМКОСТЬ LAT |
|
01 | |||||
| 6 | 180366280 | ЕМКОСТЬ | GS |
|
01 | ||||
| 7 | 180464480 | ЕМКОСТЬ LAT | GD |
|
02 | ||||
| 8 | 180365380 | ПРОБКА |
|
01 | |||||
| 9 | 180364180 | ЕМКОСТЬ |
|
01 | |||||
| 10 | 7685046 | ДЕРЖАВКА |
|
01 | |||||
| 11 | 180107880 | УПРУГАЯ ПРОБКА |
|
02 | |||||
| 12 | 181948780 | ДЕРЖАВКА | GS |
|
01 | ||||
| 12 | 180463280 | ДЕРЖАВКА | GD |
|
01 | ||||
| 13 | 180364260 | ДВЕРКА | GS |
|
01 | ||||
| 13 | 180463160 | ДВЕРКА | GD |
|
01 | ||||
| 14 | 183048580 | ДЕКОРАТИВНАЯ НАКЛАДКА |
|
01 |